Công bố tiêu chuẩn quốc gia về yêu cầu thiết kế hệ thống chữa cháy bằng bột
Ngày 31/7/2023, Bộ Khoa học và Công nghệ ban hành Quyết định số 1626/QĐ-BKHCN về việc công bố 04 tiêu chuẩn quốc gia; trong đó có TCVN 13877-2:2023 “Phòng cháy chữa cháy – Hệ thống chữa cháy bằng bột – Phần 2: Yêu cầu thiết kế”.
TCVN 13877-2:2023 do Cục Cảnh sát phòng cháy, chữa cháy và cứu nạn, cứu hộ biên soạn, Bộ Công an đề nghị, Tổng cục Tiêu chuẩn Đo lường Chất lượng thẩm định, Bộ Khoa học và Công nghệ công bố. Tiêu chuẩn này áp dụng đối với các hệ thống chữa cháy cố định bằng bột trang bị cho nhà và công trình xây dựng cũng như các khu vực nguy hiểm cháy ngoài trời; không áp dụng đối với các hệ thống chữa cháy cố định bằng bột có bình chứa áp suất cố định và các hệ thống thiết kế sẵn có lượng chất chữa cháy lên đến 150 kg, hệ thống đường vòi và giám sát chữa cháy bằng bột, các khu vực có nguy cơ nổ, động đất hoặc có điều kiện môi trường đặc biệt như hàng hải, khai thác mỏ, hàng không hoặc có khả năng xảy ra đám cháy loại D.

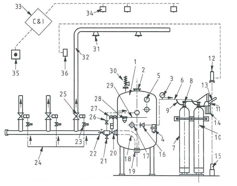
Ảnh minh họa sơ đồ cấu tạo điển hình của các bộ phận trong một hệ thống chữa cháy bằng bột

TCVN 13877-2:2023 đưa ra các yêu cầu cụ thể về việc bố trí bình chứa bột và bình chứa khí đẩy, thiết kế hệ thống đường ống, hệ thống phát hiện, vận hành và điều khiển, các yêu cầu an toàn cho người trong sử dụng, vận hành hệ thống, cũng như hướng dẫn tính toán cụ thể đối với hệ thống chữa cháy theo thể tích và hệ thống chữa cháy bề mặt.
Chất chữa cháy bột không dẫn điện có thể sử dụng để chữa cháy hiệu quả đối với các đám cháy thiết bị điện; tuy nhiên khi thiết kế, trang bị hệ thống chữa cháy bằng bột cần lưu ý chất chữa cháy bột cũng có tính hút ẩm cao và khả năng ăn mòn gây hỏng hóc các thiết bị của hệ thống kỹ thuật và máy móc./.
(nguồn: http://www.canhsatpccc.gov.vn/ArticlesDetail/tabid/193/cateid/1186/id/12019/language/vi-VN/Default.aspx)